前言
年初为了便宜淘了台群友的威联通TS-453Dmini,但过了没多久还是剁手升级到了 TS-464C2,QTS 5.2虽然不是正式版,但比较急,也是进行了更新。
个人设置
1. 更换壁纸

2. 个人设置>其他,可以根据个性化调整。

a. 空闲一段时间后自动退出登录:可以调长一些,避免重复登陆
b. 当离开QTS时提醒我:关闭网页时提醒

c. 当重新登录NAS时,重新打开窗口:打开关闭前的应用
d. 显示桌面切换按钮:左右切换桌面按钮

e. 桌面上显示链接列:

f. 显示仪表板按钮:

g. 在桌面上显示NAS时间:

h. 点击主菜单后保持打开状态:

i. 检测到外部存储设备时显示操作列表:

3. 桌面个性设置:

a. 分页模式(触控屏使用)

b. 窗口模式(浏览器使用)

c. 无边框模式(浏览器使用):只有鼠标在窗户右上角才会显示

4. 登录和安全性:
两步验证和无密码登录任选其一就足够安全了
两步验证中启用TOTP家用安全性足够,例如使用Bitwarden保存安全码即可。

控制台
1. 系统
系统端和https端口修改为非默认端口号,越随机越好。例如7000,52310等等,数值在65535以内即可。见过太多将http端口直接映射出去被暴力破解的,双重验证也没开,
默认是http:5000和https:5001端口

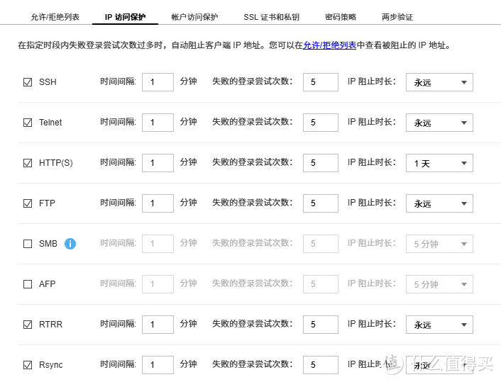
a. 安全
对安全有更高要求,可以按照自己需求开启关闭,记得添加局域网网段,不然应用后无法访问NAS,以下给个范例,该范例家用足矣。





b. 硬件
因为NAS是放在我的卧室,所以我让led的亮度在夜晚不会太亮,也是一个很人性化的设置。

风扇转速
在常态模式下,温度还是有些偏高,但个人还能接受,改为性能模式风扇声音有些偏大了。


c. 电源
现在453dmini作为备份机,不需要24小时开机,但需要随时开机。于是禁用Eup;启用WOL;电源恢复:NAS自动开机。;启用电源计划,设置凌晨关机,早6点开机备份。

d. 通知中心
可以设定规则发送信息到邮箱,这里需要用到俩个邮箱地址,一个发,一个收。当然,手机也可以以做为通送设备。163.com发,qq.com收,发送邮箱号需要在邮箱开启SMTP服务,国内邮箱都默认关闭的。

在系统通知规则可以创建规则,例如接入NAS中的UPS断电,可以发送一条信息到邮箱,包括UPS接入等。



e. QuLogCenter系统日志
一般个人用户很少关注的功能,建议大家都打开日志设置,主要设置下存储位置以及日志语言即可。


2. 权限
权限中很多设计面向企业用户,比如批量创建用户,委派管理,磁盘配额等,家庭使用环境最多用得上用户、用户组和共享文件夹。
A. 用户
高级设置 > 用户家目录 中在误删homes目录时很有效,包括迁移系统盘,恢复等
当你QNAP是多人或团队使用,你的家人或同事的个人数据,需要相互隔离,相互隐私的。

B. 用户组
可以在创建家庭帐号,创建一个用户组,加入这个用户组的用户就默认了这个策略,后面再细分每个用户的权限也是可以的。

C. 共享文件夹
创建共享文件夹:可以指定文件夹共享,这一点比群晖要灵活。如下图,该文件夹是存放qnap应用配置文件的文件夹,但除非有必要不建议这么做,会影响数据的安全性。

文件夹集合:可以将所有共享文件夹汇集成一个文件夹内,不同SMB访问前提是帐号密码相同。


3. 网络和文件服务
SMB多通道,有使用条件,开启后,在性能足够的情况下,传输性能翻倍。最好加个2.5G交换机,利用的是双网口。也有一定网络容错能力


要注意的就是三点:WebDAV;FTP;SSH 不使用默认端口就行,如果用不上建议直接关闭。



存储与快照总管中,预测迁移:需要将一个或多个硬盘位做备份盘且备份盘空间不可用,当存储池中某块盘检测有问题,可以提前转移到备份盘。保证存储池的可用性,也增加数据安全性。但对于盘位紧张的四盘位的机器,个人认为多多备份才是王道。

Qtier自动分层:建议机械盘组raid使用,NVME固态不要买低于256G的,不然不给用,建议512G及以上,且固态存储大小尽量一致。参考Raid容量以1:4购买固态,1T固态对应4T Raid组容量,最后看钱包(

4. 应用程序
Multimedia Console:
我们NAS存储了大量资料,在日常访问和搜索时,直接赤裸访问,会增加NAS性能开销。所以,NAS中需要开启索引功能,能大大提升我们日常访问性能和效率。以及多媒体管理也依赖该软件。可以直接打开索引服务即可,把缩略图也打开。

病毒防护:是qts5.2单独出来的套件,免费。安装后在控制台将其打开即可。


5. myQNAPCloud
大多数网络条件下,用户没有公网ip或固定ip的;即使有,能完全实现IPv6+DDNS+端口映射等一系列操作,对一般用户来说,也有一定难度的。所以,除了自身OS功能的易用性以外,QNAP系统还有内网穿透,就是这个myQNAPcloud账号。
只要你NAS登录并绑定了这台机器,以后异地电脑网页或App访问时,只要输入这个id账号( https://qlinkto.cn/id ),就可以自动连接NAS,无需任何的网络设置。
这个QNAPCloud不仅是内网穿透,还自动生成了一个属于你个人的二级域名,如 id.mycloudnas.com
如果配合IPv6+DDNS+端口映射,QNAP还有免费SSL证书提供给你,可以实现https访问,这些,都在这个界面里。

浏览器访问https://qlinkto.cn/id会给你寻找最佳访问路线。

IPv6+DDNS+SSL实现https访问

AppCenter
必装的应用有几个,推荐了解且使用,QNAP的特色应用(排名不分前后)
ContainerStation容器工作站,可搭建各类有趣的docker应用

HBS3文件备份同步中心

QuMagieAI相册

QsyncCentral文件同步中心

TextEditor文本编辑器

QVPN Service

VirtualizationStation虚拟化工作站
myQNAPcloud
Multimedia Console
HyperDataProtector多平台系统备份中心

可添加的第三方软件源 https://www.myqnap.org/repo.xml

总结
这几个月研究出来的成果也是不少的,还有很多内容我没接触,回顾后也发现很多不曾注意的小细节。QNAP系统体验下来是十分专业的,许多设置供人选择,十分人性化。
,

